各物业服务企业:
为了更好地做好物业管理行业的统计工作,现就2022年度物业管理统计报表填报工作通知如下:
一、填报时间
2022年度物业管理统计报表填报于2023年3月20日开始,至2023年4月20日止。各物业服务企业应于截止之日前完成网上填报工作。
二、填报对象
2022年度物业管理统计报表填报对象为在深圳市有在管物业项目的独立法人,分公司或服务中心等非独立法人无需填报,由其隶属的独立法人统一填报。
三、填报步骤
(一)完善在管物业项目及从业人员信息
通过https://zjj.sz.gov.cn/进入“深圳市住房和建设局”门户网站,在政务服务栏目下,点击“物业管理服务”。

进入后在物业管理服务主题下点击“物业管理信息平台”,进入广东省统一身份认证平台登录页面。

在法人登录处通过法人账号和密码登录系统,法人账号认证等级要求达到L2级(四级)及以上,未达到认证等级要求的,需先提升账号等级。

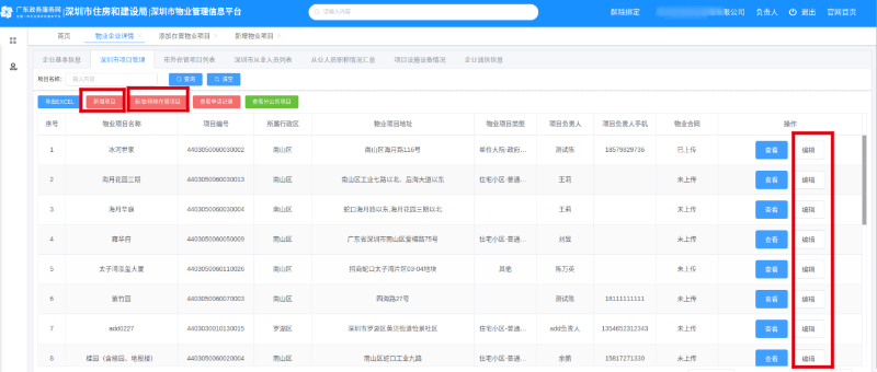
登录后在快捷入口点击“企业信息管理”,完善深圳市在管物业项目及从业人员信息。深圳市内在管项目列表中,各物业服务企业需认真核对每个在管物业项目信息,对于物业项目基础信息不完善的,需进行补充完善;对于存在实际在管物业项目与系统中显示不一致,需要增加或删除的,可通过列表上方的“新增/移除在管项目”按钮,添加或者移除物业平台中已有的物业项目;对于物业平台不存在的物业项目,则需通过“新增项目”按钮申请新增。相关操作(新增、添加/移除、部分字段修改完善)均需等待系统审核通过后才生效。
从业人员列表中,各物业服务企业需及时更新从业人员信息(含总部人员和各物业项目人员),确保与本公司实际从业人员数量保持一致。对于物业项目上的从业人员,可以由总部经办人员统一更新,或者由总部经办人员督促物业项目经理登录其个人账号,更新在管项目从业人员信息。



(二)填报统计报表
物业服务企业登录物业管理信息平台后,在快捷入口点击“企业报表填报”,选择“2022年度报表”,按要求填写即可开始填报。

填报内容共分8张表,包括企业基本信息、企业从业人员情况、企业在管物业情况、顾问及其他、企业财务状况、企业基本业务外包情况、业主满意度和其他指标数据。其中,在管本市物业项目数量、在管本市物业项目面积、本市从业人员数量等数据,直接从企业在管本市物业项目及从业人员信息中自动生成,企业无需填写。如果统计数据不正确,请通过“企业信息管理”模块中的深圳市内在管项目列表及从业人员列表进行修改完善。

四、填报须知
(一)报表内容咨询及解锁电话:0755-83262620。
(二)报表提交后无法修改。如需修改,请拨打解锁电话,修改完毕后重新提交报表。
(三)正式提交报表前,请各物业服务企业务必先通过“企业信息管理”模块,对深圳市内在管项目信息进行补充完善。
五、填报要求
请各物业服务企业如实填报物业管理统计报表,不按时报送、拒报、虚报的企业一经查实,将作为企业不良信息,在物业服务评价中予以扣分。
特此通知。
深圳市住房和建设局
2023年3月15日